ServoFreno Kombi VW
¿como funciona? Fallas mas probables.
En este articulo técnico voy a explicar como funciona un Servofreno para poder sacar conclusiones de las posibles fallas que presenta, siempre es importante conocer como funcionaba las piezas para saber cuando fallan pero el Servofreno de una Kombi VW siempre fue una incógnita, se manda a reparar y listo!!! pero desde Solokombis trataremos de ayudar a comprender un poco mas a nuestros queridos vehículos y a aprender un poco mas de mecánica, sin animo de tener la verdad absoluta como siempre digo esta es mi opinión basada en mi trabajo.....
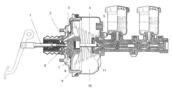
Esta es la imagen en corte de un Servofreno como el de una Kombi VW, ¿complicado verdad? pero no se desesperen... poco a poco le voy a ir mostrando gráficos mas simples hasta llegar a la explicación mas básica para gente que no es mecánico, pero atención a los mecánicos porque voy a contarles algunos descubrimientos que se van dando através de los años, las fallas hoy en día no son básicas porque el tiempo provoca comportamientos diferentes que gracias a todas las Kombis VW que reparamos con mi hijo Matías, fuimos acumulando información en muchos casos insólitas.

Este es un grafico mas simple que me va servir para empezar
con las explicaciones.
Tenemos como se ve un varillaje que empujara después de pisar el pedal de freno,
a la bomba pero este pedal en el centro tiene algo que lo va a ayudar.
Como se puede ver hay varias piezas involucradas, pero la mas importante es el
Recipiente que contiene un diafragma de goma en el centro, este recipiente por
un lado recibirá una succión y por el otro lado al pisar el pedal de freno
recibirá una entrada de aire, el diafragma de goma divide este recipiente en
dos, estas dos fases combinadas presentan una acción sobre la bomba de freno que
es equivalente al poder ejercido en el pedal por nuestro pie, pero nosotros
sentiremos que con poca presión el poder sobre el freno será mayor de lo que
esperamos aliviando de esta manera el trabajo y haciendo que la Kombi se detenga
de forma eficiente.
La succión vendrá de nuestro motor en marcha y una válvula que tenemos de
retención en el conector de la manguera al motor obtendrá un vacío que llegara a
un limite deseado por el muelle (resorte) que el diafragma tiene por delante,
este vacío permite que al pisar el pedal funcione la ayuda, pero no podrá
hacerlo si no entra aire por la parte trasera posterior, ya que si no estaría
frenado todo el tiempo por el vacío, por lo tanto esa válvula que accionamos a
la vez que pisamos el pedal para mover el varillaje regula la cantidad de aire
que entrara por la parte trasera, al cambiar la atmosfera de la parte que no
tiene vacío deja mover el diafragma para la parte que si tiene vacío, por lo
tanto el frenado se vuelve efectivo y poderoso, en los siguientes gráficos
explicaremos desde Solokombis lo que explicamos recién pero de forma mas
didáctica.

En este diagrama se puede ver mejor como funciona el sistema de acción por vacío, el pedal empujara la válvula central permitiendo entrar aire a una cámara que permanece hermética, del otro lado un fuerte vacío esta tirando del diafragma pero no se puede mover porque del otro lado hay una cámara presurizada llena de aire, esta cámara solo se llenara de aire cambiado su tamaño si el pedal acciona la válvula central, de esta manera el diafragma podrá moverse para el lado del vacío.

Ahora si el Diagrama mas simple, lo dibuje yo jeje!!! ¿se
nota? pero nos va a ser muy útil, repasemos entonces.
Por el conector de Succión el motor genera vacío en la cámara
A que esta sellada y conectada con la
bomba de freno. el resorte que tiene entre medio servirá para hacer volver al
diafragma a su posición pero también para determinar que tanto vacío se generara
sobre la goma.
En la cámara B del otro lado del diafragma
hay una cámara perfectamente sellada que espera la orden del pedal de freno,
esta cámara tiene una entrada de aire y posterior salida al volver para atrás,
esto significa que mientras en la cámara A
hay Vacío en la cámara B hay retención de
vacío, por lo tanto esas dos atmósferas contrarias no permiten que el varillaje
se mueva, al pisar el pedal que esta conectado al Enganche del varillaje, si
pisamos solo un poco dejaremos entrar solo un poco de aire en la válvula que
tenemos en el centro, por lo tanto el pedal se moverá solo un poco, si pisamos
mas la cámara B se llenara mas de aire y
permitirá al vacío en la cámara A que tire
mas del pedal haciendo el frenado mas fuerte, al soltar el pedal todo vuelve a
la normalidad debido al resorte de la cámara A,
y el liquido retorna a el deposito haciendo que todo el freno quede en descanso
permitiendo a la Kombi VW seguir su marcha.
Todo esto ayuda a que el frenado sea efectivo pero nunca deja de estar conectado
por medio del varillaje el pedal con la bomba de freno, por lo tanto si el
Servofreno pierde efectividad tendremos el pedal de freno mas duro, pero si
pisamos fuerte la Kombi Vw frenara igual solo que nos pedirá gran fuerza en la
acción del pedal, por lo tanto el servofreno también se llama Ayudapedal.
Bueno este es mi aporte para que se entienda como funciona el Servofreno en una Kombi VW, ahora veremos un listado de fallas mas probables.
FALLAS EN EL SERVOFRENO:
Pedal Duro:
1- Posible defecto en la válvula de entrada de aire interna del Servofreno, si esta trabada o pegada por oxido o suciedad no se acciona al pisar el pedal pero todo el Kit se mueve para accionar la bomba, esta falla solo puede ser solucionada por un reparador de Servofrenos ya que esta en el interior del mismo.
2- Posible Caño de succión del sistema tapado, ya sea por oxido a la altura de los travesaños de chasis, o en las mangueras estranguladas, también por la rotura de la válvula del motor que a veces se traba sobre todo si no es la original, en Argentina OJO con una de plástico negra que se traba y obstruye el paso del vacío es de muy mala calidad.
3- Deficiencia en el diafragma por inundación de liquido de freno proveniente de la bomba de frenos que pierde por su empaquetadura de retención, esta dureza es mas esponjosa y a menudo va acompañada de un humo blanco perfumado emitido por el caño de escape en el momento de arrancar el motor, esto se debe a que el motor succiona liquido de freno y lo quema ,esto suele pasar cuando tenemos casi 1 litro de liquido acumulado en la cámara A.
4- Dureza en el diafragma de goma por el correr de los años, si el diafragma se pone duro en una sola posición no se moverá fácilmente y al pisar el pedal por mas que tengamos buena respuesta de las cámaras de aire, el diafragma estará duro y pondrá el pedal en deficiencia, esto suele pasar con vehículos parados por años sin uso, aunque puede envejecer la goma usándola también.
5- Diafragma pinchado, esto hace que el vacío se genere en todo el sistema las dos cámaras tanto A y B están con vacío en su interior por lo tanto se contradicen dejando el pedal inerte y duro.
Pedal se Frena Solo (Succión involuntaria):
1- Posible diafragma pinchado pero de manera que produce la entrada de aire en la cámara B y el pedal se Succiona siempre de forma automática.
2- Posible Válvula Rota de Entrada de aire por lo tanto esa fuga permite la succión del vacío en la cámara A sin apretar el pedal.
3- Posible defecto en el largo de la varilla por mala regulación, eso hace que la válvula de Entrada de aire quede siempre levemente presionada por lo tanto el pedal se chupa solo.
Atención!!!: no confundir la Kombi frenada con el pedal frenado, si el pedal esta bien y la Kombi se queda frenada es otro el problema, a veces los Flexibles de goma del sistema de frenos también suelen obstruir el retorno del liquido frenando las ruedas.
Soplido enérgico en el Caño de respiración detrás del asiento del conductor:
1- Esto es normal en las Kombis vw, sobre todo si el pedal de freno tiene poca efectividad por problemas Hidráulicos, entre mas recorrido tenga el pedal mas aire debe exhalar por el caño de Venteo, que será el encargado de dejar entrar el aire para que el pedal se mueva para accionar el freno, pero al volver el mismo aire es mucho y sale con fuerza por pequeños orificios soplando y haciendo ruido, en ese caso hay que revisar porque el pedal de freno va tan abajo, generalmente le falta calibración o reparación al mecanismo del as ruedas.
Salto en el pedal de Freno al accionarlo:
1- Posiblemente el Servofreno tenga una deficiencia en la válvula de accionamiento de entrada de aire, esta válvula puede retrasarse solo unos milisegundos en accionar y se siente que la Kombi empieza a frenar pero luego el pedal pega un salto y lo hace mas efectivamente, lo que en el uso si nos acostumbramos es posible que no lo notemos, pero esta falla para un conductor que pretende un freno confiable es evidente.
Observaciones:
Por ultimo quiero dejarles una forma de probar si el servofreno es causal de problemas en la regulación del motor por chupada de aire, eso a veces es un defecto poco reconocido pero el motor al frenar se para o no regula y en muchos casos tiene grandes problemas para arrancar, pero como hay varias piezas que pueden producir fallas similares, lo que vamos a hacer es lo siguiente.
1- Si tenemos la válvula original en el motor de color blanca o similar, la damos vuelta y al invertirla el servofreno queda anulado, el motor no puede succionar vacío en el sistema así que ya con eso tenemos la seguridad de que no hay chupadas de aire inadecuadas, si no tenemos la válvula original u otra similar, lo que hacemos es colocar un tapón en el múltiple de admisión con una manguera y un bulón en la punta o algo parecido.
2- Si queremos saber si el sistema del caño de chasis o de mangueras presenta falla, sacamos la manguera desde el conector del servofreno y al poner en marcha podremos probar si el sistema mejoro o vario en su funcionamiento.
¿Como se repara un Servofreno de Kombi VW? ENTRAR
Saludos Aníbal De Sandro